
同天下“小强学院”
专为旅游人服务
扫码关注最新动态
从“人工+微信”到全域数字化,卓信教育如何实现运营“零纰漏”
2026-01-07
在智能技术席卷各行各业的今天,许多研学基地却依然依赖“人工+微信”的传统方式运转。从业务报单、方案制作到点名、收费、物业管理,环节繁琐、信息散乱、效率低下,成为制约发展的隐痛。
2024年,研学教育头部企业卓信教育集团,携手同天下科技,启动了一场彻底的数字化升级。
通过打造全场景智能运营平台,卓信实现了从前端业务到后勤保障的一体化闭环管理,:从资料制作开始就一律在系统中发起任务安排、讲标安排、活动报单、计调安排,到教务排班/点名/半途离入营登记/伤病登记、财务收款/退款、物业管理、仓库管理等,全都实现了数字化管理。人力成本大幅降低,运营效率显著提升。
卓信教育集团副总经理许军表示:“目前,通过这套系统,我们已经实现了错误率、纰漏率为零的大目标,大幅节省了我们的人工开支,提升了整体工作效率。”
卓信教育副总经理许军在20周年庆典发表讲话
下面,让我们一起走进卓信研学系统,看它如何重塑研学运营的每一个环节:
1、资料制作:全程在线,沉淀复用
研学课程资料是研学活动的“灵魂”,也是展现基地专业性和品牌形象的“门面”,需要持续积累和优化。通过系统进行资料制作,既能沉淀标准化模板、保证效率和质量,又能为定制化团队留出调整空间。
在系统中创建资料信息后,即可在线实时查看资料制作进度,例如制作中、需修改、已交付等,制作完成还可以一键邀请检查,谁检查、什么时间检查,系统都记录在线。如下图:
![]()


实时记录制作进度,一键邀请检查
制作完成后,如果对这份资料满意,可一键保存归类至方案库、课程库,随时调取使用复用,省去重复劳动于纸张成本。如下图:
![]()

方案一键保存或复制使用,高效便捷

方案库/课程库一键查看/调用
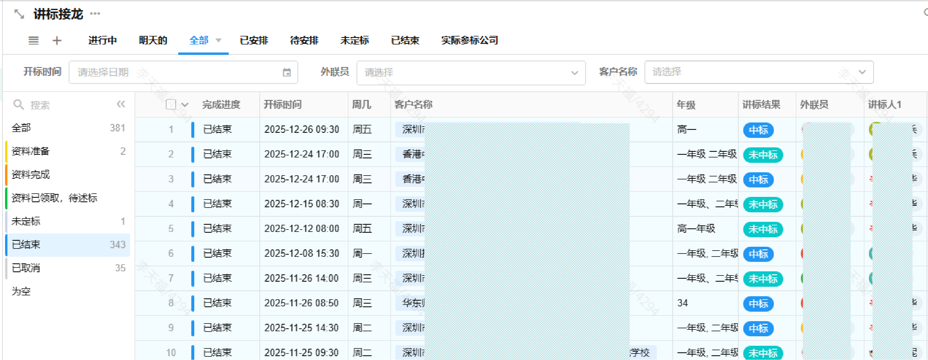
2、讲标管理:跨部门协作,流程闭环
讲标不仅仅是“派个人去讲一下”,而是一个需要系统的、跨部门协作的工程。
通过系统,从讲标前的资料准备到讲标结束,全流程都可在线协调与跟进,包括每个标的讲标需求、讲标人安排、注意事项、讲标结果等全过程记录,信息实时同步,历史资料一键可查,从此彻底告别纸质文件的翻找时代。如下图:

讲标安排状态

讲标工作安排
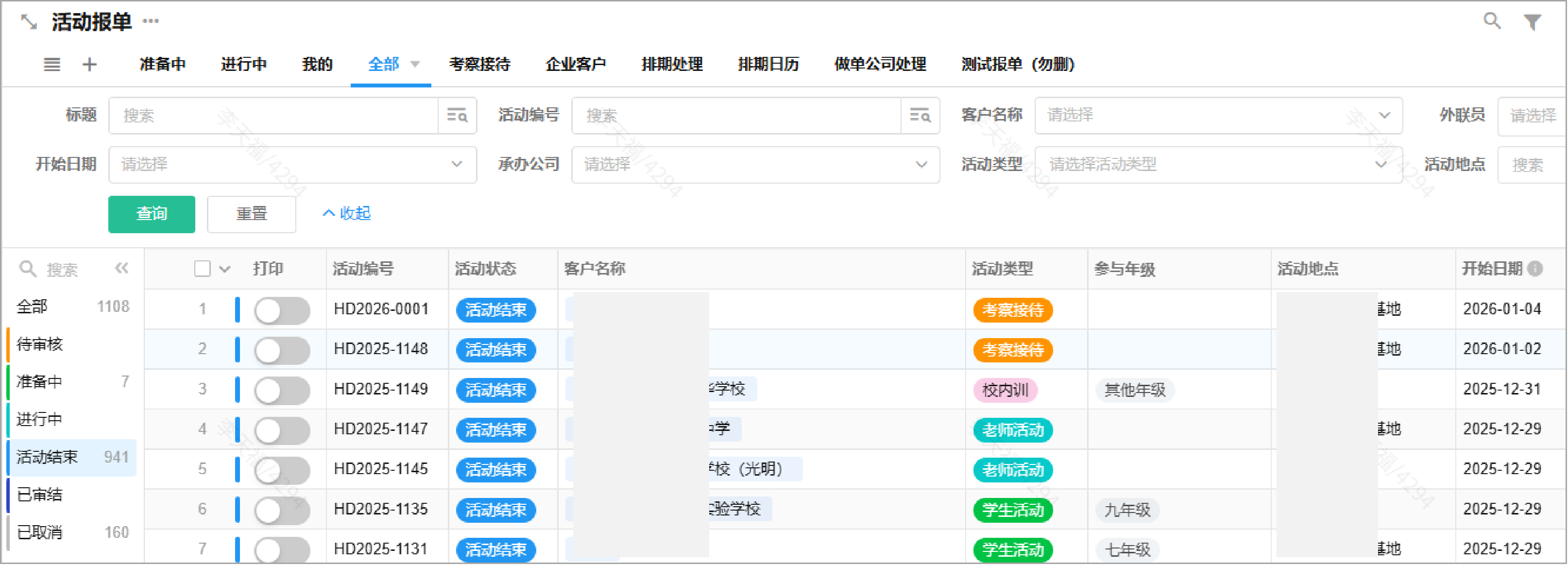
3、活动报单:信息实时同步,杜绝错漏
报单涉及的信息量庞杂,是团队信息能否准确流转的关键一环。高效的报单工作如同“中枢神经”,直接影响基地的运营效率与客户体验。
因此,在报单工作流中,我们把活动需求、客户信息、合同、付款方式、创建缴费项目、计调安排等,全流程在线管理。相关协作人员也可实时查看活动的安排情况,互相监督,从根本上避免漏单、错单。

活动报单详情在线记录

活动排期状态一目了然
4、财务管理:线上收缴清晰,退费一键原路返回
以前,财务们需要到学校各班级、或者在各班级群进行收款,收到的款又分散在微信、支付宝、银行等多个渠道,难以统计、核对,非常耗时耗力。
现在,通过系统,告别线下收款、多渠道对账的混乱。直接可以在线创建缴费项目,填好活动缴费的基本信息后,即可一键生成收费链接和二维码,家长在手机端一键支付,各渠道收款统一汇总至系统中,进度实时可视,谁已付未付,对账一清二楚;如需退费,还能一键原路返回,效率显著提升。

生成活动链接/二维码,家长在线支付
更多其它日常的付款申请、线下收费、各项餐/住/交通/门票等成本费用的财务相关工作,都可在系统有序进行,数据精准、可追溯。

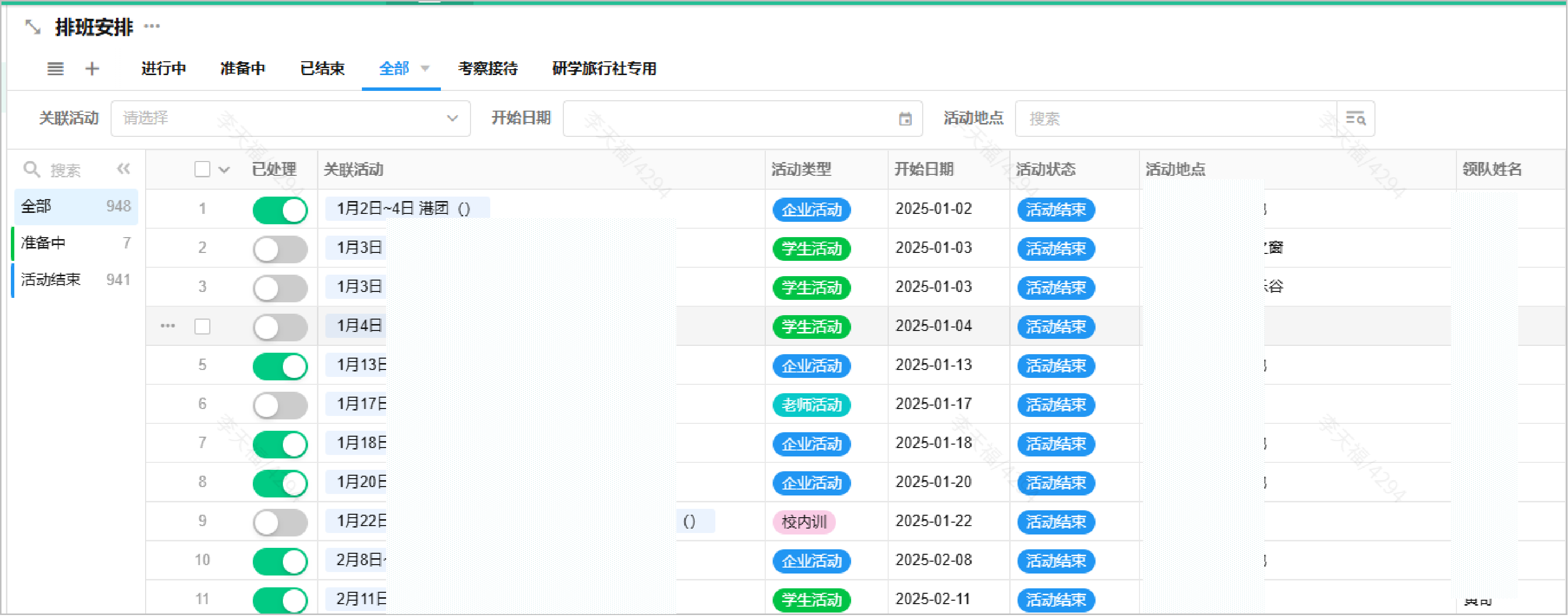
5、教务统筹:智能排班、点名、离入营登记,安全可控
教务工作首要是确保研学活动安全、有序、高效,所以每天的点名、离入营登记,十分重要。通过系统,教务老师们可在线点名、实时登记半途离营、入营,以及伤病学员情况,每日实时精确统计学员人数与学校确认,让学生的动向清晰可控,保障安全。
半途入营登记
伤病学员记录,实时更新
智能排班系统统筹资源,避免撞期,保障活动有序开展。
6、后勤保障:物业、采购、菜单全数字化
后勤部,工作琐碎、繁杂但至关重要,是保障整个研学活动能够安全、顺畅运行的“大后方”,直接关系到师生体验。
通过系统,实现了物业巡检、采购入库、库存预警、菜单制定等全流程在线管理,让庞杂的后勤运作井然有序、又高效。

维修原因说明
菜单管理上,可以在系统一次设置餐饮常用菜单,长期一键调用,极大提高制定菜单的效率。每日食材明细与成本清晰可控,减少浪费。
通过系统,采购部门管理物品、入库、盘点等工作,井井有条不错漏。
采购入库时即关联相关仓库,并启用【库存预警】,一旦库存低于限额,系统自动预警,让采购办公更游刃有余。
![]()
![]()
采购日常的申请和审批、入库、到货提醒,全流程在线智能处理,环环相连无缝对接。


![]()

采购单汇总记录表
7、数据驱动:经营数据实时可见,决策更精准
卓信教育集团,通过小强云定制化系统,全面优化流程与管理模式,从收费、点名、活动管理,到教务、物料、后勤、审批、财务……所有环节数据在系统中串联、沉淀。从此,经营数据实时掌握,管理者可实时查看运营报表,从数据中发现商机、优化流程,构建可持续的数字化竞争力。

同天下科技很荣幸携手卓信,成功助力其实现数字化跃迁。我们见证并参与了卓信在数字化浪潮中的坚实步履,期待其在未来持续引领行业方向,共同书写更高效、更温暖的教育篇章。
与此同时,我们诚邀各大研学教育基地、研学游学企业、组团/地接旅行社、新媒体旅行社等伙伴,一同探索数字化转型之路,构建深度的数字化竞争力。
欢迎扫码咨询,携手共创未来!